Are Activated Proto-onc Genes Cancer Genes? *
 
P. H. Duesberg 1. M. Nunn 2, Nancy Kan 3, D. Watson 3, P. H. Seeburg4, and T. Papas 3   

Hämatol. Bluttransf. Vol 29

* This lecture was also presented at the "International Conference on RNA Tumor Viruses in Human Cancer," Denver, Colorado, United States, 10-14 June, 1984.A portion of this lecture will also be printed as part of a review in Science, May 10,1985

1Department of Molecular Biology, University Of California, Berkeley, CA 94720, USA
2 The Salk Institute, P. 0. Box 85800, San Diego, CA92138-9216, USA
3 Laboratory of Molecular Oncology, National Cancer Institute, Frederick Cancer Research Facility, Frederick, MD 21701, USA
4 Genentech, Inc" 460 Point San Bruno Boulevard, South San Francisco, CA 90007, USA


A. Introduction

The main objective of cancer molecular biology is to identify cancer genes. Despite fierce efforts, this objective has still not been met [1-3]. As yet the only known cancer genes are the transforming onc genes of retroviruses. Typically these viruses Initiate and maintain cancers with autonomous transforming genes that are dominant in susceptible cells [5]. The discovery of single gene determinants of cancer ill retroviruses has become a precedent that has infected cancer gene research. It has made retroviral onc genes the favorite models of cellular oncogenes, although the relevance of single-gene models to virus-negative tumors is as yet unknown. Fortunately, onc genes are either detrimental or at least useless to the viability of the virus and thus are not maintained by retroviruses. They are the products of rare, genetic accidents, generated by illegitimate recombinations between retroviruses and cellular genes, termed proto-onc genes. About 20 different proto-onc genes corresponding to 20 different retroviral onc genes are known [5]. At this time the normal function of proto-onc genes has not yet been determined. One of them is structurally related to a growth factor, another is related to a growth factor receptor [6], and two appear to be yeast cell cycle genes [6,7]. It is now widely believed that, upon transcriptional or mutational "activation," proto-onc genes function like viral onc genes. Activation is assumed to be the conversion of a nononcogenic proto-onc gene into a carcinogenic variant. Indeed, mutationally altered or transcriptionally activated proto-onc genes have been found in certain tumors. However, the known mutationally or transcriptionally altered proto-onc genes are structurally different from viral onc genes and have not been shown to be the causes of tumors. Consistent with the single gene models set by retroviral onc genes, it has been proposed, recently, that molecularly defined or cloned DNA species from some tumors are autonomous cancer genes, because these DNAs are capable of transforming the morphology of certain preneoplastic cell lines [4]. Despite the popularity of this view, there is no convincing evidence to date that these DNA species can also transform normal cells in culture or that they are the causes of tumors in animals (see below). Circumstantial evidence suggests that most cancers are not caused by single genes but are the products of multiple genes that have been formally divided into initiation and maintenance genes [ 1-3]. Retroviruses without onc genes (leukemia viruses) and DNA viruses are thought to function either as initiation or as maintenance genes in multigene carcinogenesis because these viruses enhance the cancer risk of infected animals. Recently it has been proposed that activated proto-onc genes playa role in multigene carcinogenesis, rather than being autonomous cancer genes. Here the evidence for the views that activated proto-onc genes are sufficient (one gene-one cancer hypothesis) or at least necessary (multigene-one cancer hypothesis) is reviewed. It is concluded, that there is as yet no adequate functional evidence for oncogenicity and no consistent correlation between any proto-onc alteration and a certain tumor. To date viral onc genes are the only proven examples of"activated" proto-onc genes.


B. Retroviral onc Genes and Normal Proto-onc Genes

Retroviruses with onc genes are the fastestacting, obligatory carcinogens known to date. Such viruses have only bccn isolatcd from animals with ncoplasms, while all other retroviruses and all DNA viruses with oncogenic potential arc regularly isolated from animals without neoplasms. This is consistent with single-gene carcinogenesis by retroviruses with onc genes and possible multigene carcinogenesis with all other viruses. Indeed, retroviral onc genes are the only genes known that initiate and maintain cancers per se. That they are necessary for transformation has been proven genetically with temperature-sensitive (ts) mutants of Rous (RSV) [8], Kirsten (KiSV) [9], and Fujinami sarcoma viruses [10, 11]; with avian erythroblastosis virus [ 12]; and with deletion mutants of these and other retroviruses [ 13- 19]. The most convincing argument, that they are also sufficient to initiate and maintain neoplastic transformation, is that all susceptible cells infected by retroviruses with onc genes become transformed as soon as they are infected. This high transformation efficiency virtually excludes selection of preneoplastic cells initiated by another gene. The structural characteristic of retroviral onc genes is a specific sequence that is unrelated to the three essential virion genes gag, pol, and env. This onc-specific sequence of retroviruses is related to one or several proto-onc genes. Typically the oncspecific sequence replaces csscntial virion genes and thus renders the virus replication-defective, or it is added to the essential genes as in the case of RSV and is readily deleted [5, 13, 14, 20]. Since onc sequences are parasitic and have no survival value for the virus, onc genes are readily lost by spontaneous deletion [5, 20]. Therefore, viruses with onc genes are subject to extinction unless maintained in laboratories. About 17 of the 20 known viral onc genes are hybrids of coding regions from proto-onc genes linked to coding regions from essential retroviral genes [20]. The remaining viral onc genes consist of coding regions from proto-onc genes linked to retroviral control elements. The identification of hybrid onc genes provided the first unambiguous clues that viral onc genes and corresponding cellular proto-onc genes are dif-ferent, since proto-onc genes are neither related to nor Iinked in the cell to elements of essential retrovirus genes [21, 22]. Sequence comparisons of cloned genes have since confirmed and extended that all proto-onc genes and corresponding viral onc genes are not isogenic [5, 20]. The known viral onc genes are subsets of proto-onc genes linked to regulatory and coding elements of virion genes. In our laboratories we are studying the structural and functional relationships between viral onc genes and corresponding proto-onc genes, with particular emphasis on the onc genes of the following avian carcinoma, sarcoma, and leukemia viruses. The onc gene of avian carcinoma virus MC29 was the first among viral onc genes to be diagnosed as a hybrid gene [21, 23] (Fig. I). About one-half of its information ( 1.5 kb) is derived from the gag gene of retroviruses; the other half (1.6 kb), termed myc, is derived from the proto-myc gene [22]. The gene is defined by all O-kilodalton deltagag-myc protein, termed p 110 [21. 24]. The proto-myc gene of the chicken has at least three exons. The boundaries of the



Fig.l. Comparison of the genetic structures and gene products of the myc-related genes of MC29, MH2, OK 10, and chicken proto-myc


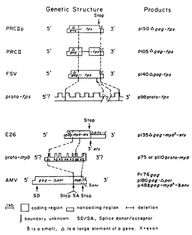
first exon arc as yet undefined [25-27]. The myc region of MC29 derives four codons possibly from the 3' end of the first exon and includes the second and third protomyc exons (Fig. I). Three other avian carcinoma viruses, MH2, OK 10, and CMII, also have onc genes with myc sequences [24]. The myc-related gene of MH2 is derived from the second and third proto-myc exon and includes the splice acceptor of the first proto-myc intron [25,28, 29] (Fig. I ). It also appears to be a hybrid consisting of six gag codons up to the splice donor of the gag gene [30]. It is expressed via a subgenomic mRNA as a p57 myc-related protein product [31-33]. I n addition, MH2 contains a second potential transforming gene, delta-gag-mht. The mht sequence is very closely related to the onc gene of murine sarcoma virus MSV 3611 [28, 29]. It is as yet unclear whether both genes are necessary for transforming function. The myc sequence of OKIO, like that of MH2, is derived from the second and third proto-m yc exons and includes the splice acceptor of the first protomyc intron (Fig. I) (1. Hayflick, P. Seeburg, R. Ohlsson, S. Pfeifer, D. Watson, T. Papas and P. Duesberg, unpublished). It is expressed via a subgenomic mRNA as a p57 protein [32-34]. At the same time, the myc sequence of OKIO is also part of a large hybrid onc gene, gag-deltapol-myc, similar to the hybrid myc gene of MC29 [24]. This gene is defined by a 200-kilodalton protein termed p200 [24]. Again, it remains to be determined whether both of these two onc gene products are necessary for transforming function. The myc sequence of CMII is part of a delta-gag-myc hybrid gene similar to that of MC29 [24]. Thus, all myc-related viral onc genes are subsets of proto-myc linked to large or small retroviral coding regions and regulatory elements. As yet, no virus with a myc-related onc gene has been isolated from a mammalian species. However, a myc containing feline provirus with unknown biological activity was recently detected by hybridization of lymphoma DNA from a feline-leukemia-virus-infected cat [35]. The results of similar comparisons between the delta-gag-fps genes of Fujinami, PRCII, and PRCllp sarcoma viruses and cellular proto-fps are summarized in Fig. 2 [ 19, 36, 37]. In these cases, the sarcoma viruses share with proto-fps a 2- to 3-kb fps domain, including probably the 3' translation stop codon. However, the viral genes each initiate with retroviral gag regions, whereas proto-fps initiates with a proto-fps-specific exon(s) [36] (Fig. 2). Analysis of the onc genes of the leukemia viruses avian myeloblastosis (AMV and erythroblastosis virus (E26), and of protomyb, the common cellular prototype of the myh sequence shared by these viruses, is al



Fig.2. Comparison of the genetic structures and gene products of the fps-related genes of avian Fujinami, PRCIIp and PRCII sarcoma viruses, and the chicken proto-fps gene (top) and of the myb-related genes of avian leukemia viruses E26 and AMY and the chicken proto-myb gene (bottom)


so schematically summarized in Fig. 2. Unlike the myc- and fps-containing onc genes, the onc genes of each of these viruses share an internal domain with the cellular prototype [38, 39]. In E26, the myb region is flanked by a gag-related region at its 5' end and by a newly discovered onc-specific domain, termed ets, at its 3' end to form a tripartite onc gene [40,41]. In AMY, the myb region includes a proto-myb splice acceptor that is presumably served in the virus by the splice donor of delta-gag [30]. The myb region of AMY is t1anked at its 3' end by an element derived from the env gene of retroviruses. It is concluded that the onc-specific sequences of each of these carcinoma, sarcoma, and leukemia viruses are subsets of proto-onc genes linked to elements of essential retrovirus genes. Other examples of hybrid onc genes have been described [5, 16, 20, 24]. Since in all the cases studied proto-onc genes are not related and not linked to essential genes of retroviruses, all viral hybrid onc genes are by definition structurally different from proto-onc genes. The coding regions of a few viraloncgenes, possiblythesrc geneofRSY and probably the onc genes of Harvey, Kirsten sarcoma viruses (termed Ha- and Ki-ras), are derived entirely from protoonc sequences (see below and Fig. 4 ). Nevertheless, even these onc genes differ from proto- onc genes in extensive deletions and point mutations. The src gene of RSY is a hybrid of genetic elements derived from two proto-src genes [5, 42] and possibly five codons from a retrovirus [139]. Two arguments indicate that these qualitative differences between onc and protoonc genes are essential for transforming function of the viral genes: There is the overwhelming evidence that many protoonc genes are regularly expressed in normal cells without altering the normal phenotype [5,43]. There is more indirect evidence that proto-onc sequences cloned in retroviral or plasmid vectors do not transform normal, diploid cells. For example, phage or plasmid vectors carrying the viral src-related region, but not a complete complement of the major proto-src gene [44-47] or protofos, the precursor of the transforming gene of FBJ (Finkel-Biskis-Jinkins) murine osteosarcoma virus [48], or proto-fp.s/fes, the precursors of avian Fujinami and feline sarcoma viruses [49] (W.-H. Lee and P. H. Duesberg, unpublished), or proto-myc, the precursor of avian MC29 virus (T. Robins, P. Duesberg, and O. Vande Woude, unpublished), do not transform cells in culture. The .src-related region of the major proto.src gene also fails to transform in a RSV vector [50]. Further, proto-src and protoHa-ras (the precursor of Ha-MuSV) fail to transform in a reticuloendotheliosis virus vector while the corresponding viral onc genes have transforming function [51 ]. Apparent exceptions are proto-mos and proto-ras which, after ligation to retroviral promoters, transform the preneoplastic NIH 3T3 cell line [52, 53]. The proto-mos and ras regions used in these constructions are essentially the same as those found in Moloney and Harvey sarcoma viruses but are not complete proto-onc genes (see below and Fig. 2). Conceivably, the proto-onc regions that were not included into these constructions and are not in the viruses might in the cell suppress transforming potential of the complete proto-onc genes. Moreover, it will be detailed below that transforming function in 3T3 cells is not a reliable measure of transforming function in diploid embryo cells or in the animal. Neither the proto-ra.s nor the proto-mos construction were found to transform diploid embryo cells [54, 55] (0. Vande Woude, personal communication). Thus, normal proto-onc genes and viral onc genes are related, but are structurally and functionally different. The question is now whether there are conditions under which proto-onc genes can cause cancer.


C. The Search for Activation of Proto-onc Genes to Cancer Genes

The only clear, although indirect, proof for activation of proto-onc genes to cancer genes is based on the rare cases in which proto-onc genes functioned as accidental parents of retroviral onc genes. It has been deduced from structural analyses of retroviral genes and proto-onc genes that viral onc genes were generated by transduction of specific domains from proto-onc genes [5, 20]. Because no significant sequence homology exists between retroviruses and proto-onc genes, such transductions must procede via two rare, nonhomologous recombinations [5,25]5. It is probably for this reason that viral transductions or ""activations" are extremely rare, even though all cells contain proto- onc genes and many animal species contain retroviruses without onc genes. Only 50-100 sporadic cancers from which retroviruses with onc genes were isolated have been reported and no experimentally reproducible system of transduction has ever been described [56-58]. Thus, retroviruses with onc genes are the causes of rare, natural tumors rather than laboratory artifacts. Their role as accidental progenitors of viral onc genes has made proto-onc genes the focus of the search for cellular cancer genes. Their possible function in cancer was initially tested in many laboratories in view of a ""one gene-one cancer" and more recently in view of a ""multigene-one cancer" hypothesis. The one gene-one cancer hypothesis is similar to postulates that activation of inactive cellular oncogenes is sufficient to cause cancer the oncogene hypothesis of Huebner and Todaro [59]. Some investigators have postulated that activation is the result of increased dosage of a given proto-onc gene product. This view, termed the quantitative model, received support from early experiments which suggested that the src gene of RSV or the myc gene of MC29 and the corresponding proto-onc genes were equivalents [60-64]. In the meantime, significant structural and functional differences between these genes have been found [5,43,44-47, 50] (see above).

5 In addition, it appears that only a few cellular genes are proto-onc genes or can
function as progenitors of viral onc genes since the same
proto-onc sequences have been found in different isolates [29]

Others have suggested that proto-onc genes are activated by mutations or rearrangements in the primary DNA sequence [65, 66]. This view is termed the qualitative model [5]. The m ultigene-one cancer hypothesis postulates that an activated proto-onc gene is necessary, but unlike the corresponding viral gene, not sufficient to cause cancer. A quantitatively or qualitatively activated proto-onc gene is postulated to function either as initiation or as maintenance gene together with another proto-onc gene, in a multistep process [54, 55, 67- 73]. This hypothesis fits the view of how virus-negative tumors are thought to arise in general and provides identifiable candidates to test the hypothesis. However, since retroviral onc genes have yet to be dissociated into initiation and maintenance functions, this hypothesis is without viral precedent. Two kinds of assays have been performed to test these hypotheses. One assay correlates transcriptional activation and mutation of proto-onc genes with cancer; the other directly measures transforming function of proto-onc genes upon transfection into certain recipient cells, typically the pre neoplastic mouse NIH 3T3 cell line [4, 54,55]. Such experiments have most frequently linked cancers with alterations of proto-myc and proto-ras.


I. Is Proto-myc Activation the Cause of B-Cell Lymphomas?

Based on the observation that transcription of the cellular proto-myc is enhanced in retroviral lymphomas of chicken, it has been postulated that transcriptional activation of proto-myc is the cause of B-celllymphoma [64, 74]. Chicken B-cell lymphoma is a clonal cancer that appears in a small fraction of animals infected by one of the avian leukosis viruses (which have no onc genes) after latent periods of over 6 months [58]. The hypothesis, termed downstream promotion, postulates that the gene is activated by the promoter ofa retrovirus integrated upstream (Fig.3) and that activated proto-myc functions like the transforming gene of MC29 [64]. Subsequently, samples were found in which the retrovirus is in tegrated 3' of proto-myc or 5' in the opposite transcriptional direction. In these cases, the virus is thought to function like an enhancer of proto-myc [74] (Fig. 3). However, proto-myc differs structurally from the 3-kb delta-gag-myc gene of MC29 as diagrammed in Figs. land 3 [25, 26]. Further, it has been argued previously [5] that the hypothesis fails to explain the origin of about 20% of viral lymphomas in which proto-myc is not activated [64]; the discrepancies between the phenotype of the disease and the cancers caused by MC29; the clonality of the tumors, defined by a single integration site of the retrovirus with regard to proto-myc; and the long latent period of the disease. Given about 106 kb of chicken DNA and activation of proto-myc by retrovirus integration within about 5 kb of proto-myc [27,74], one in 2x 105 infections should generate the first tumor cell. Since the chicken probably has over 107 uncommitted B cells and many more virus particles, the critical carcinogenic integration event should occur after a short latent period. The tumor should also not be clonal, since integration by retroviruses is not site specific and there could be numerous infections during the latent period of about 6 months. Further, the model has not been confirmed in murine [75, 76], feline [35], and bovine [77] leukemia. Instead, the high percentage of virus-negative fe]ine [35] and bovine [78] lymphomas indicates that a retrovirus is not even necessary for the disease. Recently, it was suggested that a mutation, rather than a virus, may have activated avian proto-myc because mutations have been observed in viral lymphoma [79]. However, the proto-myc mutations have not been shown to be the cause of the viral lymphoma. Activation of proto-myc has also been postulated to cause the retrovirus-negative, human Burkitt's lymphomas, and mouse plasmacytomas. ]n these cases, chromosome translocation has been proposed as a mechanism of activating proto-myc function [70,71,80,8]]. The human proto-myc is related to that of the chicken from which carcinoma viruses have been derived (Fig.3). The two genes have unique first exons, similar second exons with unique



Fig.3. Myc-related genes in avian carcinoma viruses and in normal and lymphoma cells. The common and specific myc domains of avian carcinoma viruses MC29 [25, 26], MH2 [28,29], and OK IO [24, and unpublished], of normal chicken proto-myc [25,71], and of the proto-myc genes of avian leukosis [57, 67] and human Burkitt's lymphoma [70, 71, 80] are graphically compared, Proto-myc has three exons (XI, X2, X3) the first of which is thought to be noncoding [25, 81 ]. The proto-myc genes of chicken and man are related but not identical: Their first exons are essentially unrelated; there are major unique sequence elements in each of their second exons and minor differences between the third exons [25]. Gag, pol, and env are the three essential virion genes of retroviruses and delta- marks incomplete complements of these genes

 

regions, and colinear third exons [25], In man, proto-myc is located on chromosome 8 and an element of this chromosome is reciprocally translocated in many Burkitt's lymphoma lines to immunoglobulin (Ig) loci of chromosome 14 and less frequently of chromosome 2 or 22, Since the crossover points of chromosome 8 are near proto-myc, translocation was initially suspected to activate proto-myc transcriptionally by rearranging proto-myc (Fig, I) or by altering its immediate environment and thus bringing it under the influence of new promoters or enhancers [80], However, in many lymphomas rearranged proto-myc is not linked to a new promoter; instead the first presumably noncoding exon is replaced by the Ig locus, linked to it 5'-5' in the opposite transcriptional orientation [80] (Fig, 3), Further this model cannot explain how proto-myc would be activated when the complete proto-myc gene, including its known promoters and flanking regions, is translocated [70, 72, 82], or recent observations that in a significant minority of Burkitt's lymphomas proto-myc remains in its original chromosomal location while a region 3' of proto-myc is translocated [83-87], Despite these inconsistencies, proto-myc is thought to function as a cellular oncogene in these tumors. Moreover, there is no consensus at this time whether proto-myc expression is enhanced in Burkitt's lymphoma cells, as compared with normal control cells, Some investigators report elevated expression compared with normal B-Iymphoblasts or lines [88], while others report essentially normal levels of proto-myc mRNA [70, 82, 86, 87, 89-92]. Further, en hanced protomyc transcription is not specific for B-cell lymphomas, since high levels of proto-myc expression are seen in non-Burkitt's lymphomas [91], in other tumors [73], and in chemically transformed fibroblast cell lines in which proto-myc is not translocated or rearranged [43]. The view that enhanced expression of proto-myc may be sufficient to cause Burkitt's lymphoma is also challenged by the observations that proto-myc transcription either reaches cell cycle-dependent peak levels in certain cell lines [43, 93] or maintains constitutively high levels in embryo cells similar to those in tumor cells [F. Cuzin (Nice), M. Bywater (UpPsala), and A. Braithwaite (Canberra), personal communications]. The possibility that mutations of protomyc may correlate with Burkitt's lymphoma has also been investigated. In some Burkitt's cell lines mutations have been observed in translocated, but unrearranged, proto-myc [93, 94] (Fig. 3). Initially it was proposed that these mutations may activate proto-myc by altering the gene product [94], but in at least one Burkitt's lymphoma line the coding seq uence corresponding to proto-myc exons 2 and 3 was identical to that of the normal gene [82] (Fig. 3). Recently it has been proposed that mutations in the first noncoding exon may activate the gene [92, 95]. However, there is no functional evidence for this view and an activating mutation that is characteristic of Burkitt's lymphomas has not been identified. It is also an open question at this time whether the first human proto-myc exon is indeed noncoding [82] or has possibly a large, open reading frame capable of encoding a major protein [25, 95 a]. A sequence comparison between translocated proto-myc of a mouse plasmacytoma with the germline proto-myc found the two genes to be identical except for one nucleotide difference in the first exon. It was concluded that proto-myc mutations are not required for oncogenesis [96]. Therefore, no translocation, rearrangement, elevated expression, or characteristic mutation of proto-myc is common to all Burkitt's lymphomas investigated. This casts doubt on the concept that any of the known proto-myc alterations are a sufficient cause ( or even necessary) for Burkitt's lymphoma. The question of whether proto-myc has transforming function has been tested directly using the 3T3 cell transformation assay with DNA from chicken or human B-celllymphomas. However, no myc-related DNA was detected even though its presumed functional equivalent, the delta-gag-myc gene of MC29, is capable of transforming 3T3 cells [97, 98] and other rodent cell lines [99]. Instead, another DNA sequence, termed Blym, was identified by the assay [67, 100]. Based on these results, the role of proto-myc in lymphomas has been interpreted in terms of a two-gene hypothesis. It has been suggested that activated proto-myc is necessary but not sufficient to cause the lymphoma [68, 70]. It is postufated to have a transient early function that generates a lymphoma maintenance gene, Blym. This gene appears to be the DNA that transforms 3T3 cells and is thought to maintain the B-cell tumor. There is no proof for this postulated role of proto-myc as a lymphoma initiation gene, because the 3T3 cell-transformation assay does not measure proto-myc initiation function, and because there is no evidence that the two genes jointly ( or alone) transform B cells. Furthermore, the hypothesis does not address the question why proto-myc should have any transforming function at all, if it is not like MC29. (MC29 does not require a second gene to transform a susceptible cell.) It is also not known whether Blym is altered in primary Burkitt's lymphomas, since all of the transfection experiments were done with DNA from cell lines. It is conceivable that chromosome translocation involving the proto-myc chromosome 8 may be a specific but not a necessary consequence, rather than the cause of the lymphoma [101]. Human B-cell lymphomas with translocations that do not involve chromosome 8 have indeed been described [ 102, 103]. In the case of clonal myeloid leukemias with consistent translocations, like the Philadelphia chromosome, it has been convincingly argued that translocation is preceded by clonal proliferation of certain stem cells with the same isoenzyme markers as leukemic cells but without chromosomal or clinical abnormalities [104]. Perhaps primary Burkitt's lymphomas should be analysed now and more emphasis should be given to the question of whether proto-myc alteration contributes to Burkitt's lymphoma, rather than to speculation about possible mechanisms. II. Proto-ras Mutations, the Cause of Human and Rodent Carcinomas? Use of the 3T3 cell assay to measure transforming function of DNA from a human bladder carcinoma cell line has identified DNA homologous to the ras gene of Harvey sarcoma virus [66, 105] (Fig.4). Based on the viral model, the proto-Ha-ras gene is thought to be a potential cancer gene because it encodes a 21-kilodalton protein, p21, which is colinear with an onc gene product p21 of Ha-MuSV [106] (Fig. 4). The proto-Ha-ra.s gene from the bladder carcinoma cell line differs from normal protoHa-ras in a point mutation which alters the 12th p21 codon in exon I from normal gly to val [66, 107]. This mutation does not cause overproduction of the ras gene product (p21) in the 3T3 cell line [66] and does not change known biochemical properties of p21 [108]. The single-base change is thought to activate the gene to afunctional equivalent ofHa-MuSV and to be the cause of the carcinoma because it is the apparent cause for 3T3 cell-transforming function [66, 109]. However, this mutation has not been found in over 60 primary human carcinomas, including 10 bladder, 9 colon, and 10 lung carcinomas [ 110], in 8 other lung carcinomas [III], and in 14 additional bladder and 9 kidney carcinomas (R. Muschel and G. Khoury, personal communication). Further, the mutated human proto-Ha-ras, which transforms 3T3 cells, does not transform primary rat embryo cells [54, 69] and, more significantly, does not transform human embryo cell [ 112]. Transformation of primary cells would be expected from a gene that causes tumors in animals. Thus the mutated proto-ras gene does not correspond to the viral model which transforms primary mouse, rat [113,114],


Fig.4. Comparison of the genetic structures and p21 gene products of the human proto-Ha-ras gene [106,107] and the 5.5-kb RNA genome of Harvey sarcorma virus (Ha-MuSV) [ 132]. HaMuSV is a genetic hybrid of the rat proto-ras gene, a 30S defective retrovirus RNA from rat cells and of Moloney leukemia virus [107,135]

 

and human cells [115-119]. In addition, the val in the 12th codon of 3T3 cell transforming proto-ras is different for the arg of the viral counterpart [107]. Other mutations have since been found to confer 3T3 cell-transforming function to proto-Ha-ras DNA. Porto-Ha-ras with a mutation in codon 61 was isolated from a human tumor cell line [120]. 3T3 cell-transforming proto-Ha-ras DNAs were also isolated from 2 out of 23 primary urinary tract tumors analyzed. One of these contained a mutation in cod on 61; the other was not identified [121]. The mutations were not found in the normal tissue of the respective patients. Nevertheless, this does not prove that 3T3 cell-transforming function of proto-ras was necessary for tumor formation since each was associated with only lout of 23 histologically indistinguishable tumors. A 3T3 cell-transforming mouse protoHa-ras DNA was also found in some (not all) chemically induced benign papillomas and malignant carcinomas of mice [122]. Since only a small (5%-7%) portion of the benign tumors progressed to carcinomas, it would appear that 3T3 cell-transforming proto-ras was not sufficient to cause the carcinomas, and since not all carcinomas contained the mutation, it would appear that it was not necessary either. A high proportion, i.e., 14 out of 17 methylnitrosourea-induced mammary carcinomas of rats, were found to contain 3T3 celltransforming proto-Ha-ras DNA (M. Barbacid, personal communication). This suggests that the mutation is not necessary for the tumor, although it may be important for tumor progression. The original study reported nine out of nine positives [123]. Moreover, the hormone dependence and high tissue specificity of the carcinogen in this study suggest that other genes must be involved, because mutated proto-ras has been found in association with other tumors and transforms 3T3 cells without hormones. It is plausible that other genes, which may be involved in tumorigenesis but which do not register in the 3T3 assay, were also altered by the carcinogen. In an effort to explain why mutated proto-Ha-ras transforms preneoplastic 3T3 cells, but not rat or human embryo cells, it has recently been proposed that mutated proto-Ha-ras is only one of at least two activated genes that are necessary to induce cancer [54, 55, 69]. This two-gene hypothesis has been tested by transfecting primary rat cells with a mixture of the mutated human proto-Ha-ras and either MC29 provirus or activated proto-myc from mouse plasmacytoma [54], or the EIA gene of adenovirus [69] as helper genes. None of these genes were able to transform rat embryo cells by themselves, but some cells were transformed by the artificial mixed doubles. The study that used the adenovirus virus helper gene showed that proto-rac\' expression varied from high to normal levels in transformed cells and that normal proto-ras was inactive in the assay [69]. The study that used myc-related helper genes did not show that the transformants contained and expressed the added DNAs. It also did not test whether unaltered forms of proto-myc or proto-ras were sufficient for a mixture of these genes to register in this assay. This appears to be a particularly relevant question since a proto-myc clone from a mouse plasmacytoma with an SV40 enhancer at its 3' end but without its natural promoter [71] was reported to be active [54] a]though such a construction is not expected to activate proto-myc. The myc-related genes were proposed to convert rat embryo cells to cells that are capable of dividing indefinitely, like 3T3 cells, a function termed immortalization [54, 55]. The supposed immortalization function of MC29 or of activated proto-myc was not demonstrated independently. The proposal did not explain why an immortalization gene was necessary. Obviously immortalization is necessary to maintain cells in culture. However, immortalization is not necessary for focus formation and probably not for tumor formation since embryo cells are capable of sufficient rounds of mitoses (up to 50) in cell culture and in the animal [ 124]. In the avian system, MC29 transforms primary cells and causes tumors in chicken independently without the benefit of secondary oncogenes, and most MC29 tumor cells are not immortal if tested in cell culture. The failure of maintaining cells from many human tumors in cell culture, under conditions where cells from similar tumors survive, also suggests that immortality may not be an essential criterion of a tumor cell [ 125, 125 a]. There is also no precedent for a function of proto-ras in a multistep transformation mechanism, because the transforming genes of Harvey of Kirsten sarcoma viruses transform rat and mouse embryo cells [113, 114] or human embryo cells [ 115-119] with single-hit kinetics and without helper genes. Moreover, there is no precedent for the artifical mixtures of the two activated proto-onc genes in any natural tumors. Other 3T3 cell-transforming proto-ras genes, namely proto-Ki-ras, which is more closely related to the ras gene of Kirsten sarcoma virus than to Harvey virus, and N-ras, which is related to both viruses, have also been found in tumors or cell lines [ 126]. Proto- Ki-ras encodes a p21 protein that is related to the p21 protein encoded by proto-Ha-ras [107, 126,127]. One group has found 3T3 cell-transforming proto-Ki-ras DNA in three primary human tumors and five tumor cell lines out of 96 samples tested [111,128]. The same group also found 3T3 cell-transforming proto-Ki-ras DNA in one out of eight lung carcinomas tested [III]. The DNA from this tumor, but not that from normal tissue of the same patient, had a mutation in the 12th codon. Obviously the low percentage of 3T3 cellpositives among these tumors raises the question of whether the mutations were necessary for tumorigenesis. In a study of human melanomas, only one of five different metastases from the same human melanoma patient was found to contain 3T3 cell-transforming proto-Kiras DNA [ 129]. A 3T3 cell-transforming Ki-ras DNA was also detected in a metastatic variant but not in a primary methylcholanthrene-induced T-cell lymphoma of mice [130]. An example of a spontaneous protoras mutation appearing in tumor cells cultured in vitro has just been described [ 131 ]. This suggests that these proto-ras mutations were consequences rather than the causes of these tumors. The view that ras mutation is a consequence of tumorigenesis is also consistent with the results that only one ras allele is mutated in some primary tumors [III, 121,127] whereas both alleles are mutated in typical tumor-cell lines [ 110, 111 ]. Since 3T3 cell-transforming or mutated proto-ras genes are only rarely associated with human and murine tumors and since mutated proto-Ha-ras does not transform human or rat embryo cells [54, 69, 112] (proto-Ki-ras was not tested), there is as yet no proof that mutated proto-ras is sufficient or even necessary for any of the above tumors. The failure of the mutated proto-Ha- or Ki-ras to behave like the viral model suggests that structural differences between the cellular and viral genes are responsible (Fig. 4). The 5' end of proto-Ha-ras is not as yet defined [107]. Proto-Ha-ras differs from the 5.5-kb RNA genome of Harvey sarcoma virus [132] in a cell-specific 1-kb DNA region 5' of exon 1 that is preceded by a virus-related region [ 107] and in the sizes (1.2 and 5 kb) of the proto-ras transcripts compared with the genomic viral 5.5-kb mRNA [58, 133, 134]. The cell-specific proto-Ha-ras region is thought to be an intron but it may have another function. The base changes that confer 3T3 celltransforming function to proto-Ha-ras are different from those that set apart viral ras genes from proto-ras [66, 107, 126] (Fig. 4). Proto-Ha-ras with 3T3 cell-transforming function further differs from the viral ra.\" and from normal proto-Ha-ras in point mutations in exons l or 2 [66, 107] (Fig. 4). Moreover, only about 10% of the genomes of Harvey and Kirsten sarcoma viruses are ras related. Each viral RNA contains about 3 kb of genetic information, derived from a rat 30S defective retrovirus RNA [135] which may contribute to the oncogenicity of these viruses (Fig,4). Further, it has been argued that mutated proto-ras is a recessive transforming gene, because both ras alleles are mutated in typical tumor-cell lines, although only one allele is mutated in some primary tumors [ 111, 127]. By contrast, the viral onc gene is dominant. A definitive answer to the question whether ras mutations are dominant or recessive 3T3 cell-transforming genes could be obtained by simultaneous transformation with mutated and normal ras genes. Finally, Ha and Ki- MuSV are not obvious models for proto-ras genes with hypothetical carcinoma function, since these viruses cause predominantly sarcomas.


D. Conclusions


I. Does the 3T3 Assay Detect Cancer Genes?

The preponderance of 3T3 cell-transformation negatives among the above-described tumors suggests that either no genes have caused the negative tumors or that the assay failed to detect them. That only ras-related proto-onc genes have been detected in human tumors signals another limitation of the 3T3 assay. Since the proto-ras mutations found by the 3T3 assay do not transform primary cells, it is possible that they are not relevant for tumor formation. Available data suggest that these are coincidential or consequential rather than cancer causative mutations occurring in tumor cells, because the mutations are not consistently correlated with specific tumors and because in some cases they precede tumor formation and in other they evolve during tumor progression. Despite its effectiveness to transform 3T3 cells, it would follow that mutated proto-ras is not a dominant singular cancer gene, similar to a viral onc gene, and that the test is insufficient to determine whether proto-onc genes cause tumors in animals. The efficiency of the assay to identify cancer genes unrelated to proto-onc genes [4] remains to be determined.


II. Are Altered Proto-onc Genes Sufficient Causes of Cancer?

Clearly, proto-onc genes are sometimes mutationally or transcriptionally altered in tumor cells. However, no altered proto-onc gene has been found that looks like a viral onc gene. More importantly, no altered proto-onc gene from tumors investigated functions like a viral onc gene. Altered proto-myc has no transforming function in known assay systems, and altered proto-ras transform 3T3 cells but does not transform rodent or human embryo cells. Thus, altered proto-onc genes are structurally and functionally different from viral onc genes. Moreover, alterd proto-onc genes are not consistently associated with specific tumors. Since there is no functional evidence that altered proto-onc genes transform embryo cells or cause tumors and no consistent correlation between altered proto-onc genes and a specific tumor, the one-gene hypothesis (that altered proto-onc genes are sufficient to cause tumors) is without support. As yet, viral onc genes are the only "activated" proto-onc genes that are sufficient to cause tumors.


III. Are Altered Proto-onc Genes Necessary to Cause Cancer?

The observations that altered proto-onc genes do not behave like viral onc genes and that in some tumors multiple proto-onc genes are altered [73] have been interpreted in terms of a multigene hypothesis. Altered proto-myc has been proposed to cooperate with the Blym gene to cause chicken and human B-cell lymphoma [68]. Altered proto-ras has been proposed to cause carcinomas with other genes, and reported to cooperate in an artificial system with altered proto-myc to transform rat embryo cells in culture [54, 55]. However, there are several reservations about a role of altered proto-myc or proto-ras in multigene carcinogenesis: (a) There is no functional evidence that a combination of altered myc and Blym from lymphomas or that altered ras, together with another gene from carcinomas, transforms appropriate normal test cells. An artificial combination of altered ras in combination with an myc-related or an adenovirus gene was reported to transform primary rat cells. However, it was not reported whether both genes are present and functional in all transformants, and there is no evidence that these artificial ras-helper genes are models for the hypothetical helper genes in tumors with altered ras. (b) The observations that protomyc alterations are not consistently associated with B-cell lymphomas and that proto-ras mutations are only rarely associated with specific carcinomas argue that at least one of two hypothetically synergistic cancer genes is not necessary for these tumors. As yet, no multigene complements that include one or two proto-onc genes have been shown to be consistently associated with specific tumors. ( c) The proposals that altered proto-onc genes play role in a multigene carcinogenesis are a significant departure from the original view that they were equivalents of viral onc genes. The proposals speculate that altered proto-onc genes are necessary but not sufficient for tumor formation and behave like functional subsets of viral onc genes. They do not address the question why these genes are assumed to have unique oncogenic functions that are different from those of the viral models. The ad hoc assumption is without precedent since it is not known whether viral onc genes can be dissociated into complementary or helpergene-dependent genetic subsets. Since there is no functional proof for multiple, synergistic transforming genes and no consistent correlation between at least one altered proto-onc gene and a specific tumor, the view that proto-onc genes are necessary for multigene carcinogenesis is still un proven.


IV. Prospects

It may be argued that the proto-onc gene alterations that are associated with some cancers playa nonspecific but causative role in carcinogenesis that could be substituted for by another gene. To support this view, it would be necessary to know which other genes could substitute for the role that altered proto-onc genes are thought to play in the origin of cancer. Further, one would have to know whether proto-onc gene alterations are more typical of cancer cells than alterations of other genes and which other genes characteristically undergo alterations in tumor cells. It is likely that unknown events, additional to the known alterations of resident proto-onc genes, are required for the development of cancer [5, 136]. The fact that proto-onc genes share common domains with viral onc genes remains a persuasive argument that proto-onc genes may, under certain conditions, be changed into cancer genes. The evidence that most normal proto-onc genes are expressed in normal cells suggests that cell- specific domains of proto-onc genes may suppress potential oncogenic function. Thus, mutation or removal of suppressors could activate a proto-onc gene, as has been predicted for Burkitt's lymphoma. Clearly, the identification of such suppressors would depend on a complete genetic definition of proto-onc genes. To date, we do not know both termini of any proto- onc gene (except for human proto-myc [79], which is not a protoype of a know oncogenic virus). In addition, virus-specific onc gene elements may also be essential to activate a protoonc gene. In this case, a retrovirus without an onc gene (chronic leukemia virus) could activate a proto-onc gene by a single illegitimate recombination which would form a hybrid onc gene. Such an event would be more probable than the generation of a retrovirus with an onc gene, for which at least two illegitimate recombinations are necessary. DNA technology has made it possible to convert nontransforming DNA from viral or cellular sources to DNA species that transform cell lines or embryo cells. Examples are the proto-mos and proto-ras retroviral L TR recombinants that transform 3T3 cells [49, 50]; the proto-ras, myc, and adenovirus DNA combinations that transform rat embryo cells [51, 66]; or an L TR-mutant proto-ras-SV40 construction that transforms rat embryo cells [137]. Another example is a synthetic gene that consists of a mouse proto-myc gene in which all or part of the first exon is replaced by the L TR of mouse mammary tumor virus. Upon introduction into the germ line, this gene was expressed in II transgenic mice. Only two of these developed mammary tumors after two pregnancies, and not in all mammary glands. It was suggested that the gene may be necessary but not sufficient for the development of these tumors [ 138]. Both the level of expression and the integrity of proto-onc genes were altered in these constructions, since only subsets of proto-onc genes wcrc included. In order to assess the relevance of such iatrogenic transformations to cancer, it would be helpful to determine whether the number of DNA species that can be converted to transforming variants is large or small, and it would be necessary to determine whether any such DNAs ever occur in natural tumors. The most important challenge now is to develop functional assays for cellular cancer genes.

Acknowledgements.
I specifically thank my colleagues M. Botchan, G. S. Martin, H. Rubin, M. Carey, W. Phares, S. Pfaff, and C. Romerdahl for encouragement and many critical comments and L. Brownstein for typing numerous drafts of this manuscript. The work from my laboratory is supported by NIH grant CA 11426 from the National Cancer Institute and by grant CTR 1547 from The Council for Tobacco Research USA, Inc.


References

1. Rous P (1967) The callenge to man of the neoplastic cell. Science 157.25 la. Berenblum I (1981) Sequential aspects of chemical carcinogenesis. skin. In. Becker F (ed) Cancer, vol I Plenum, New York
2. Knudson AG (1981) Genetic influences in human tumors. In: Becker F (ed) Cancer, vol I. Plenum New York
3. Foulds L ( 1969) Neoplastic development, vols I and 2. Academic, New York
4. Cooper GM ( 1982) Cellular transforming genes. Science 218.801
5. Duesberg PH (1983) Retroviral transforming genes in normal cells') Nature 304.219
6. Heldin C-H, Westermark B (1984) Growth factors. mechanism of action and relation to oncogenes. Cell 37:9
7. Peterson TA, Yochem ], Byers B, Nunn MF, Duesberg PH, Doolittle RF, Reed SI (1984) A relationship between the yeast cell cycle genes CDC4 and CDC36 and the ets sequence of oncogenic virus E26 Nature 309.556
8. Martin GS (1970) Rous sarcoma virus: a function required for the maintenance of the transformed state. Nature 221: 102 I
9. Shih n, Weeks MO, Young MA, Scolnick EM ( 1979) p21 of Kirsten murine sarcoma virus is thermolabile in a viral mutant temperature sensitive for the maintenance of transformation. ] Virol 31.546
10. Pawson A, Guyden ], Kung T-H, Radke K, Gilmore T, Martin GS ( 1980) A strain of Fujinami sarcoma virus which is temperature-sensitive in protein phosphorylation and cellular transformation. Cell 22.767
II. Lee W-H, Bister K, Moscovici C, Duesberg PH (1981) Temperature-sensitive mutants of Fujinami sarcoma virus. tumorigenicity and reversible phosphorylation of the transforming pl40 protein. ] Virol38: 1064
12. Palmieri S, Beug H, Graf T ( 1982) Isolation and characterization of four new temperature-sensitive mutants of avian erythroblastosis virus (AEV). Virology 123.296
13. Duesberg PH, Vogt PK (1970) Differences between the ribonucleic acids of transform ing and nontransforming avian tumor viruses, Proc Natl Acad Sci USA 67.1673
14. Martin GS, Duesberg PH (1972) The a-subunit in the RNA of transforming avian tumor viruses. I. Occurrence in different virus strains. II. Spontaneous loss resulting in nontransfo)rming variants. Virology 47:494
15. Wei C-M, Lowy DR, Scolnick EM ( 1980) Mapping of transforming region of the Harvey murine sarcoma virus genome by using insertion-deletion mutants constructed in vitro. Proc Natl Acad Sci USA 77.4674
16. Goff SP, Baltimore D (1982) The cellular oncogene of the Abelson murine leukemia virus genome. In: Klein G (ed) Advances in viral oncology, voll. Raven, New York
17. Srinivasan A, Dunn CY, Yuasa Y, Devare SG, Reddy EP, Aaronson SA ( 1982) Abelson murine leukemia virus. structural requirements fo)r transforming gene function. Proc Natl Acad Sci USA 79.5508
18. Evans LH, Duesberg PH (1982) Isolation of a transformation-defective deletion mutant of Moloney murine sarcoma virus. ] Virol 41.735
19. Duesberg PH, Phares W, Lee WH ( 1983) The low tumorigenic potential of PRCII, among viruses of tbe Fujinami sarcoma virus subgroup, corresponds to an internalfps deletion of the transfo)rming gene. Virology 131.144
20. Duesberg PI I ( 1980) Transforming genes of retroviruses. Cold Spring Harbor Symp Quant Bio144. 13
21. Mellon P, Pawson A, Bister K, Martin GS, Duesberg PH ( 1978) Specific RNA sequences and gene products of MC29 avian acute leukemia virus. Proc Natl Acad Sci USA 75.5874
22. Robins T, Bister K, Garon C, Papas T, Duesberg PH ( 1982) Structural relationship between a normal chicken DNA locus and the transforming gene of the avian acute leukemia virus MC29 ] Viro141.635
23. Duesberg PH, Bister K, Vogt PK ( 1977) The RNA of avian acute leukemia virus MC29. Proc Natl Acad Sci USA 74.4320
24. Bister K, Duesberg PH ( 1982) Genetic structure and transforming genes of avian retroviruses. In: Klein G (ed) Advances in viral oncology. voll. Raven, New York
25. Papas TS, Kan NK, Watson DK, Flordellis CS, Psallidopoulos MC, Lautenberger ], Samuel KP, Duesberg PH (1984) myc-Related genes in viruses and cells. In: Vande Woude GF, Levine A], Torp WC, Watson ]D (eds) Cancer cells 2/oncogenes and viral genes, Cold Spring Harbor Laboratory, Cold Spring Harbor
26. Watson DK, Reddy EP, Duesberg PH, Papas TS (1983) Nucleotide sequence analysis of the chicken c-myc gene reveals homologous and unique coding regions by comparison with the transforming gene of avian myelocytomatosis virus MC29, delta-gag-myc. Proc Natl Acad Sci USA 80.2146
27. Shih C-K, Linial M, Goodenow MM, Hayward WS (1984) Nucleotide 5equence 5' of the chicken c-myc coding region: localization of a noncoding ex on that is absent from myc transcripts in most avian leukosi5 virus-induced lymphomas. Proc Natl Acad Sci USA 81.4697
28. Kan NC, Flordellis CS, Mark GE, Duesberg PH, Papas TS ( 1984) Nucleotide sequence of avian carcinoma virus MH2: two potential onc genes, one related to avian virus MC29, the other to murine sarcoma virus 3611. Proc Natl Acad Sci USA81:3000
29. Kan NC, Flordellis CS, Mark GE, Duesberg PH, Papas TS (1984) A common onc gene sequence transduced by avian carcinoma virus MH2 and by murine sarcoma virus 3611. Science 223:813
30. Schwartz DE, Tizard R, Gilberg W (1983) Nucleotide sequence of ROU5 sarcoma virus. Cell 32: 853
31. Pachl C, Biegalke B, Linial M (1983) RNA and protein encoded by M H2 virus: evidence for subgenomic expression of v-myc. l Viro145.133 32. Hann SR, Abrams HD, Rohr5chneider LR, Eisenman RN (1983) Proteins encoded by v-myc and c-myc oncogenes. identification and localization in acute leukemia virus transformants and bursal lymphoma cell lines. Cell 34.781
33. Alitalo K, Ram say G, Bishop lM, Pfeiffer SO, Colby WW, Levinson AD (1983) Identification of nuclear proteins encoded by viral and cellular myc oncogenes. Nature 306.274
34. Chiswell Dl, Ramsey G, Hayman Ml (1981) Two virus-specific RNA species are present in cells transformed by defective leukemia virus OKIO. l Viro140.301
35. Levy LS, Gardner MB, Casey lW (1984) Isolation of a feline leukaemia provirus containing the oncogene myc from a feline lymphosarcoma. Nature 308.853
36. Seeburg PH, Lee W-H, Nunn MF, Duesberg PH (1984) The 5' ends of the transforming gene of Fujinami sarcoma virus and of the cellular proto-fps gene are not colinear. Virology 133:460
37. Lee W-H, Phares W, Duesberg PH (1983) Structural relationship between chicken DNA locus, proto-fps and the transforming gene of Fujinami sarcoma virus (delta-gag-fps). Virology 129: 79
38. Rushlow KE, Lautenberger lA, Papas TS, Baluda MA, Perbal B, Chirikjian lG, Reddy EP (1982) Nucleotide sequence of the transforming gene of avian myeloblastosis virus. Science 216.1421
39. Klempnauer K-H, Gonda TS, Bishop lM ( 1982) Nucleotide sequence of the retroviral leukemia gene v-myb and its progenitor c-myb: the architecture of a transduced oncogene. Cell 31.453
40. Nunn MF, Seeburg PH, Moscovici C, Duesberg PH (1983) Tripartite structure of the avian erythroblastosis virus E26 transforming gene. Nature 306.391
41. Nunn M, Weiher H, Bullock P, Duesberg PH (1984) Avian erythroblastosis virus E26: nucleotide sequence of the tripartite onc gene and of the L TR, and analysis of the cellular prototype of the viral ets sequence. Virology 139,330:339
42. Takeya T, Hanafusa H ( 1983) Structure and sequence of the cellular gene homologous to the src gene of RSV and the mechanism of the generation of the viral transforming gene. Cell 32- 881
43. Campisi l, Gray HE, Bardee AB, Dean M, Sonenshein GE ( 1984) Cell-cycle control of c-myc but not c-ras expression i5 lost following chemical transformation. Cell 36.241
44. Takeya T, Hanafusa H (1982) DNA sequence of the viral and cellular src gene of chickens. II. Comparison of the .src genes of two strains of avian sarcoma virus and of the cellular homolog. l Virol44: 12
45. Parker RC, Varmus HE, Bishop lM (1984) Expression of v-src and chicken c-.src in rat cells demonstrates qualitative differences between pp60vsrcand pp60c-src. Ce1137.131
46. Parsons JT, Bryant D, Wilkerson V, Gilmartin G, Parsons Sl ( 1984) Site-directed mutagenesis of Rous sarcoma virus pp60Src identification of functional domains required for transformation, In. Vande Woude GF, Levine Al, Topp WC, Watson lD (eds) Cancer cells 2/oncogenes and viral genes. Cold Spring Harbor Laboratory, Cold Spring Harbor
47. Shalloway D, Coussens PM, Yaciuk P ( 1984) c-src and src homolog overexpressi on in mouse cells. In: Vande Woude GF, Levine Al, Topp WC, Watson JD (eds) Cancer cells 2/oncogenes and viral genes. Cold Spring Harbor Laboratory, Cold Spring Harbor
48. Miller AD, Curran T, Verma IM (1984) c-fos Protein can induce cellular transformation: a novel mechanism of activation of a cellular oncogene. Cell 36: 51
49. Sodroski JG, Goh WC, Haseltine WA (1984) Transforming potential of a human protooncogene (c-fps/fes) locus. Proc Natl Acact Sci USA 81 : 3039
50. Iba H, Takeya T, Cross FR, Hanafusa T, Hanafusa H ( 1984) Rous sarcoma virus variants that carry thc cellular src gene instead of the viral src gene cannot transform chicken embryo fibroblasts. Proc Natl Acact Sci USA 81.4424
51. Wilhelmsen KC, Tarpley WG, Temin HM (1984) Identification ofsome of the parameters governing transformation by oncogenes in rctroviruses. In: Vande Woude GF, Levine AJ, Topp WC, Watson JD (eds) Cancer cells 2/oncogenes and viral genes. Cold Spring Harbor Laboratory, Cold Spring Harbor
52. Blair DG, Oskarsson M, Wood TG, McClements WC, Fischinger PJ, Vande Woude GF (1981) Activation of the transforming potential of a normal cell sequence: a molecular model for oncogenesis. Sciencc 212:941
53. Chang EH, Furth ME, Scolnick EM, Lowy DR (1982) Tumorigenic transformation of mammalian cells induced by a normal human gene homologous to the oncogcne of Harvey murine sarcoma virus. Nature 297.479
54. Land H, Parada LF, Weinberg RA (1983) Tumorigenic conversion of primary embryo fibroblasts requires at least two cooperating oncogenes. Nature 304.596
55. Land H, Parada LF, Weinberg RA (1983) Cellular oncogenes and multistep carcinogenesis. Science 222: 771
56. Gross L ( 1970) Oncogenic viruses. Per gamon, New York
57. Tooze J (ed) (1973) The molecular biology of tumour viruses. Cold Spring Harbor Laboratory, Cold Spring Harbor
58. Weiss RA, Teich NM, Varmus H, Coffin JM (eds) (1982) Molecular biology of tumor viruses. RNA tumor viruses. Cold Spring Harbor Laboratory, Cold Spring Harbor
59. Hucbner RJ, Todaro GJ ( 1969) Oncogenes of RNA tumor viruses as determinants of cancer. Proc Natl Acact Sci USA 64: 1087
60. Bishop JM, Courtneidge SA, Levinson AD, Oppermann H, Quintrell N, Sheiness DK, Weiss SR, Varmus HE (1980) Origin and function of avian retrovirus transforming genes. Cold Spring Harbor Symp Quant Bio144:919
61. Bishop JM (1981) Enemies within. the genesis of retrovirus oncogenes. Cell 23: 5
62. Wang L-H, Snyder P, Hanafusa T, Moscovici C, Hanafusa H (1980) Comparative analysis of cellular and viral scquences related to sarcomagenic cell transformation Cold Spring Harbor Symp Quant Bioi 44'766
63. Karess RE, Hayward WS, Hanafusa H (1980) Transforming proteins encoded by the cellular information of recovcrect avian sarcoma viruses. Cold Spring Harbor Symp Quant Bio144.765
64. Hayward WS, Neel BG, Astrin SM ( 1981 ) Activation of a cellular onc genc by promoter insertion in ALV-induced lymphoid leukosis. Nature 290.475
65. Klein G (1981) The role of gene dosage and genetic transposition in carcinogenesis. Nature294.313
66. Tabin CJ, Bradley SM, Bargmann CI, Weinberg RA, Papageorge AG, Scolnick EM, Dhar R, Lowy DR, Chang EH (1982) Mechanism of activation of a human oncogene. Nature 300.143
67. Cooper GM, Neiman PE (1981) Two distinct candidate transforming genes of lymphoid Icukosis virus-inducect neoplasms. Nature 292: 857 68. Diamond A, Cooper GM, Ritz J, Lane M-A (1983) Identification and molecular cloning of the human Blym transforming gene activated in Burkitt's lymphomas. Nature 305.112
69. Ruley HE (1983) Adenovirus early region I A enables viral and cellular transforming genes to transform primary cells in culture. Nature 304:602
70. Leder P, Battey J, Lenoir G, Mouctling C, Murphy W, Potter H, Stewart T, Taub R (1983) Translocations among antibody genes in human cancer. Science 222.765
71. Actams JM, Gerondakis S, Webb E, Carcoran LM, Cory S (1983) Cellular myc oncogene is altered by chromosome translocation to an immunoglobulin locus in murine plasmacytoma and is rearranged similarly in human Burkitt lymphomas. Proc Natl Acact Sci USA 80: 1982
72. Klein G, Klein E ( 1984) Oncogene activation and tumor progression. Carcinogcnesis 5:429
73. Slamon DJ, deKernion JB, Verma IM, Cline MJ ( 1984) Expression of cellular oncogenes in human malignancies. Scicnce 224:256
74. Payne GS, Bishop JM, Varmus HE (1982) Multiple arrangemcnts of viral DNA and an activated host oncogene in bursal lymphomas. Nature 295.209
75. Tsichlis PN, Strauss PG, Hu LF ( 1983) A common region for proviral DNA integra tion in MoMuLV-induced rat thymic lymphomas. Nature 302.445
76. Yoshim ura FK, Levine KL ( 1983) AKR thymic lymphomas involving mink cell focus-inducing leukemia viruses have a common region of provirus integration. J Virol 45.576
77. Kcttmann R, Deschamps J, Cleuter Y, Couez D, Burny A, Marbaix G (1982) Leukemogenesis by bovine leukemia virus. proviral DNA integration and lack of RNA expression ofvirallong terminal repeat and 3' proximate cellular sequences. Proc Natl Acad Sci USA 79.2465  
78. Miller JM, Miller LD, Olson C, Oillette KS (1969) Virus-like particlcs in phytohemagglutinin-stimulated lymphocyte cultures with reference to bovine lymphosarcoma. J Natl Cancer Inst 43.1297
79. Westaway D, Payne G, Varmus HE (1984) Proviral deletions and oncogene base-substitutions in insertionally mutagenized c-myc alleles may contribute to the progression of avian bursal tumors. Proc Natl Acad Sci USA 81 :843
80. Klein G ( 1983) Specific chromosomal translocations and the genesis of B-cell-derived tumors in mice and men. Cell 32.311
81. Rowley JD (1983) Human oncogene locations and chromosome abcrrations. Natu re 301:290
82. Battey J, Moulding C, Taub R, Murphy W, Stewart T, Potter H, Lenoir G, Leder P (1983) The human c-myc oncogene. structural consequences of translocation into the IgH locus in Burkitt lymphoma. Cell 34:779
83. Gelmann E, Psallidopoulos MC, Papas TS, Dalla-Favera R ( 1983) Identification of reciprocal translocation sites within the c-myc oncogene and immunoglobulin 1 locus in a Burkitt lymphoma. Nature 306:799
84. Crocc CM, Thierfeldcr W, Erikson J, Nishikura K, Finan J, Lenoir GM, Nowell PC (1983) Transcriptional activation of an unrearranged and untranslocated c-myc oncogene by translocation of a Cgamma locus in Burkitt lymphoma cells. Proc Natl Acad Sci USA 80.6922
85. Erikson J, Ar-Rushidi A, Drwinga HL, Nowell PC, Croce CM (1983) Transcriptional activation of the translocated c-myc oncogene in Burkitt lymphoma. Proc Natl Acad Sci USA 80.820
86. Hollis GF, Mitchell KF, Battey J, Potter H, Taub R, Lenoir GM, Leder P (1984) A variant translocation places the gamma immunoglobulin gencs 3' to the c-myc oncogene in Burkitt's lymphoma. Nature 307.752
87. Davis M, Malcolm S, Rabbitts TH (1984) Chromosome translocation can occur on either side of the c-myc oncogene in Burkitt lymphoma cells. Nature 308: 286
88. Erikson J, Nishikura K, Ar-Rushdi A, Finan J, Emanuel B, Lenoir G, Nowell PC, Croce CM ( 1983) Translocation of an immunoglobulin chi locus to a rcgion 3' of an unrearranged c-myc oncogcne enhances c-myc transcription. Proc Natl Acad Sci USA 80.7581
89. Westin EH, Wong-Staal F, Gelmann EP, Dalla Favera R, Papas TS, Lautenberger JA, Eva A, Reddy EP, Tronick SR, Aaronson SA, Gallo RC (1982) Expression of cellular homologues of retroviral anc genes in human hematopoietic cells. Proc Natl Acad Sci USA 79:2490
90. Maguire RT, Robins TS, Thorgersson SS, Heilman CA (1983) Expression of cellular myc and mas genes in undifferentiated B-celllymphomas of Burkitt and non-Burkitt types. Proc Natl Acad Sci USA 80 1947
91. Hamlyn PH, Rabbitts TH (1983) Translocation joins c-myc and immunoglobulin l gencs in a Burkitt lymphoma revealing a third exon in the c-myc oncogene. Nature 304.135
92. Taub R, Moulding C, Battey J, Murphy W, Vasicek T, Lenoir GM, Leder P (1984) Activation and somatic mutation of the translocated c-myc gene in Burkitt Iymhoma cells. Celi 36.339
93. Kelly K, Cochran BH, Stiles CO, Leder P (1983) Cell-specific regulation of the c-myc gene by lymphocyte mitogens and platelet derived growth factor Cell 35.603
94. Rabbitts TH, Hamlyn PH, Baer R (1983) Altered nucleotide sequences of a translocated c-myc gene in Burkitt lymphoma. Nature 306.760 95. Rabbitts TH, Forster A, Hamlyn P, Baer R (1984) Effect of somatic mutation within translocatcd c-myc gcnes in Burkitt's lymphoma Nature 309.593
95 a. Gazin C, Dupont de Oinechin S, Hampe A, Masson J-M, Martin P, Stehelin D, Galibert F (1984) Nucleotide sequcncc of the human c-myc locus: provocative open reading frame within the first exon. EMBO, J 3.383
96. Stanton LW, Fahrlander PO, Tesser PM, Marcu KB (1984) Nuclcotidc scquence comparison of normal and trans located murine m-myc genes. Nature 310.423
97. Copeland NG, Cooper OM (1980) Transfection by DNAs of avian erythroblastosis virus and avian myelocytomatosis virus strain MC29. J Viro133.1199
98 Lautenberger lA, Schulz RA, aaron CF, Tsichlis PH, Papas TS ( 1981) Molecular cloning of avian myeloblastosis virus (MC29) transforming sequences Proc Natl Acad Sci USA 78.1518
99. Quade K (1979) Transformation of mammalian cells by avian myelocytomatosis virus and avian erythroblastosis virus. Virology 98.461
100. Goubin G, Goldman DS, Luce 1, Neiman PE, Cooper OM (1983) Molecular cloning and nucleotide sequence of a transforming gene detected by transfection of chicken B-celllymphoma DNA. Nature 302.1 14
101. Rubin H (1984) Chromosome aberrations and oncogenes. cause or consequence in cancer. Nature 309.518
102. Erikson 1, Finan 1, Tsujimoto Y, Nowell PC, Croce C (1984) The chromosome 14 breakpoint in neoplastic B cells with the t (II; 14) translocation involves the immunoglobulin heavy chain locus. Proc Natl Acad Sci USA 81 4144
103. Yunis 11, Oken MD, Kaplan ME, Ensurd KM, Howe RR, Theologides A ( 1982) Distinctive chromosomal abnormalities in histologic subtypes of non-Hodgkin's lymphoma. N Engl 1 Med 307 1231
104. Fialkow Rl, Singer lW (1984) Tracing development and cell lineages in human hemopoietic neoplasia. In. Proceedings of the Dahlem Workshop on Leukemia. Springer, Berlin Heidelberg New York Tokyo (in press)
105. Der lC, Krontiris TG, Cooper OM (1982) Transforming genes of human bladder and lung carcinoma cell lines are homologous to the ras genes of Harvey and Kirsten sarcoma viruses. Proc Natl Acad Sci USA 79;3637
106. Ellis R W, Lowy DR, Scolnick EM ( 1982) The viral and cellular p21 (ra.s) gene family In; Klein a (ed) Advances in viral oncology, voll. Raven, New York
107. Capon Dl, Chen EY, Levinson AD, Seeburg PH, Ooeddel DV ( 1983) Complete nucleotide sequences of the T24 human bladder carcinoma oncogene and its normal homologue. Nature 302' 33
108. Finkel T, Channing lD, Cooper OM (1984) Activation of ras genes in human tumors does not affect localization, modification, or nucleotide binding properties of p2I. Cell 37; 151
109. Reddy EP, Reynolds RK, Santos E, Barbacid M (1982) A point mutation is responsible for the acquisition of transforming properties by the T24 human bladder carcinoma oncogene. Nature 300' 149
110. Feinberg AP, Vogelstein B, Droller Ml, Baylin SB, Nelkin BD ( 1983) Mutation af fecting the 12th amino acid of the c-Ha-ras oncogene product occurs infrequently in human cancer. Science 220.1175
111. Santos F, Martin-Zanca D, Reddy EP, Pierotti MA, Della Porta G, Barbacid M (1984) Malignant activation of a K-ras oncogene in lung carcinoma but not in normal tissue of the same patient. Science 223;661
112. Sager R, Tanaka K, Lau CC, Ehina Y, Anisowicz A (1983) Resistance of human cells to tumorigenesi.s induced by cloned transforming genes. Proc Natl Acad Sci USA 80;7601
113. Harvey 11, East 1 (1971) The murine sarcoma virus (MSV). Int Rev Exp Pathol 10:265
114. Levy lA ( 1973) Demonstration of dif'ferences in murine sarcoma virus foci formed in mouse and rat cells under a soft agar overlay. 1 Natl GCancer Inst 46: 1001
115. Aaronson SA, Todaro 01 ( 1970) Transformation and virus growth by murine sarcoma virus in human cells. Nature 225:458
116. Aaronson SA, Weaver CA ( 1971) Characterization of murine sarcoma virus (Kirsten) transformation of mouse and human cells.l Oen Viro113:245
117. Klement V, Friedman M, McAllister R, Nelson-Rees W, Huebner Rl (1971) Differences in susceptibility of human cells to mouse sarcoma virus. 1 Natl Cancer Inst 47:65
118. Pfeffer LM, Kopeolvich L ( 1977) Dif'ferential genetic susceptibility of cultured human skin fibroblasts to transformation by Kirsten murine sarcoma virus. Cell 10'313
119. Levy lA (1975) Host range of murine xenotropic virus. replication in avian cells. Nature253.140
120. Yuasa Y, Srivastava SK, Dunn CY, Rhim lS, Reddy EP, Aaronson SA ( 1983) Acquisition of transforming properties by a]ternative point mutations within c-bas/ has human proto-oncogene. Nature 303' 775
121. Fujita 1, Yoshida 0, Yuasa Y, Rhim lS, Hatanaka M, Aaronson SA ( 1984) Ha-ra.s oncogenes are activated by somatic alterations in human urinary tract tumors. Nature 309.464
122. Balmain A, Ramsden M, Bowden UT, Smith 1 ( 1984) Activation of the mouse cellular Harvey-ras gene in chemically induced benign skin papillomas. Nature 307:658
123. Sukumar S, Notario V, Martin-Zanca D, Barbacid M ( 1983) Induction of mammary carcinomas in rats by nitroso-methylurea involves malignant activation of H-ras-l locus by single point mutations. Nature 306.658
124. Holliday R ( 1983) Cancer and cell senescence Nature 306.742
125 Fogh .I (ed) (1975) Human tumor cells in vitro. Plenum, New York
125a. Salmon SE (1980) Cloning of human tumor stem cells. Alan R Liss, NY
126. Wigler M, Fasano 0, Taparowsky E, Powers S, Kataoka T, Brinbaum D, Shimizu KF, Goldtarb M ( 1984) Structure and activation of ras genes. In. Vande Woude GF, Levine A.I, Topp WC, Watson .ID (eds) Cancer cells 21oncogenes and viral genes. Cold Spring Harbor Laboratory, Cold Spring Harbor
127. Capon D.I, Seeburg PH, McGrath .JP, Hayflick .IS, Edman U, Levinson AD, Goeddel DV ( 1983) Activation of Ki-ras 2 gene in human colon and lung carcinomas by two different point mutations. Nature 304.507
128. Pulciani S, Santos E, Lauver A V, Long LK, Aaronson SA, Barbacid M ( 1982) Oncogenes in solid human tumors. Nature 300.539
129. Albino AP, Le Strange R, 01iff AI, Furth ME, Old LJ ( 1984) Transforming ras genes from human melanoma. a manitestation of tumor heterogeneity? Nature 308.69
130. Vousden KM, Marshall C.I (1984) Three different activated ras genes in mouse tumours; evidence for oncogene activation during progression of a mouse lymphoma. EMBO.1 3;913
131. Tainsky MA, Cooper CS, Giovanella BC, Vande Woude GF (1984) An activated rasN gene. detected in late but not early passage human Pa I teratocarcinoma cells Science 225:643
132. Maisel .I, Klement V, Lai MMC, Ostertag W, Duesberg PH ( 1973) Ribonucleic acid components of murine sarcoma and leukemia viruses Proc Natl Acad Sci USA 70.3536
133. Ellis RW, Defeo D, Furth ME, Scolnick EM (1982) Mouse cells contain two distinct ras gene mRNA species that can be translated into a p21 onc protein Mol Cell Biol2.1339
134. Parada LF, Tabin C, Shih C, Weinberg RA (1982) Human E.I bladder carcinoma oncogene is homologue of Harvey sarcoma ras gene Nature 297:474
135. Scolnick EM, Vass WC, Howk, Duesberg PH ( 1979) Detective retrovirus-like 30S RNA specie, of rat and mouse cells are intectious if packaged by Type C hclper virus. .I Viro19.964
136. Temin HM (1983) We still don't understand cancer. Nature 302656
137. Spandidos DA, Wilkie NM (1984) Malignant transtormation of early passage rodent cells by a single mutated human oncogene. Nature 310.469
138. Stewart T A, Pattengale PK, Leder P ( 1984) Spontaneous mammary adenocarcinoma in transgenic mice that carry and express MTVlmyc fusion genes. CeI138.627-637
139. Bizub D, Katz RA, Skalka AM (1984) Nucleotide sequence of noncoding regions in Rous-associated Virus-2. comparisons delineate conserved regions important in republication and oncogenesis. .I Virol 49:557-565